首页 关于我们 新闻中心 主营业务 公司服务 科技创新 联系我们
科技创新
核心技术
专利证书
详细页面

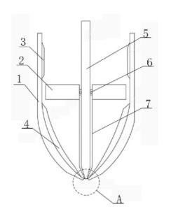
一种适用于蒸汽处理的自清垢喷头

发布时间:2024/3/17 18:22:39 点击:215

该技术提供一种能够在水流的作用下实现对喷头主体的搅动,以避免喷头主体内产生水垢而将喷水口堵死的适用于蒸汽处理的自清垢喷头。技术方案是:该适用于蒸汽处理的自清垢喷头包括喷头主体以及设置在喷头主体内的螺旋盘2和扰动装置,螺旋盘与喷头主体相对转动设置,螺旋盘垂直于水流方向设置,扰动装置安装在螺旋盘上,并随螺旋盘同步转动。

 

 
山东科川节能环保科技有限公司 版权所有 Copyright @ 1988-2022 All Right Reserved
鲁ICP备2022027282号