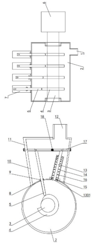
该技术提供一种方便精确控制冷却水的喷水与停止,进而能够精确调节蒸汽温度的适用蒸汽处理的适用蒸汽处理的全角度自调节连杆自密封装置。技术方案是:该装置包括分配筒、 截止装置、分配动力装置以及喷射管,截止装置沿分配筒设置有若干个,各截止装置均与分配筒相连通,各截止装置均连接有推动机构,推动机构设置在分配筒内,分配动力装置同时与各推动机构相连,各截止装置的输出口均连接有喷射管。喷射管由若干段旋转筒首尾连接而成,各旋转筒的端部均设置有坡口,且每相邻的两旋转筒可转动的连接,每相邻的两旋转筒之间均设置有调节动力装置,调节动力装置安装在其中任意一个旋转筒上,调节动力装置与另外一个旋转筒相连,并带动其转动。
